ארנסט וילקינסון, מהנדס רכיבי רדיו ואנטנות אמריקאי, נודע בזכות הרכיב המיוחד שהמציא – מפצל של אותות רדיו (הפועל עקב סימטריה גם כמסכם), המכיל נגדים לאיזון בין היציאות, גם כאשר הן אינן זהות. מפצל וילקינסון הוא רכיב כה נפוץ ושימושי עד שאי אפשר כמעט לתאר מערכת רדיו כלשהי הפועלת בלעדיו.
קורות חיים
ארנסט ג' וילקינסון נולד במסצ'וסטס, ארצות הברית, ביום 23 במאי 1927. במלחמת העולם השנייה שירת בצי האמריקאי על סיפונה של הצוללת USS Pocono. לאחר המלחמה סיים לימודי תואר ראשון בהנדסת חשמל באוניברסיטת נורת' איסטרן ותואר שני באוניברסיטת סטנפורד. את מרבית שנות עבודתו המקצועית בילה בפיתוח רכיבי רדיו ואנטנות. בין היתר עבד בחברת Sylvania במסצ'וסטס ובחברת Communication Satellite Corporation.
וילקינסון פירסם מאמרים ורשם פטנטים על נושאים מגוונים ובהם – אנטנת חריץ בקיטוב מעגלי המותאמת להתקנה על פני
מטוסים[1], מערכת עקיבה לתקשורת
לווינים [2], רפלקטור בקיטוב כפול [3] ונושאים נוספים, אך עיקר פרסומו הגיע מפיתוח מפצל הספק power divider עם 8 יציאות [4-5], רכיב פשוט אך גאוני המיועד לחלק אות רדיו בין מספר הדקים, ובאופן סימטרי, יכול גם לחבר מספר אותות רדיו ולהביאם להדק יציאה משותף power combiner. הרכיב מבוסס על תיאום אימפדנסים בעזרת שנאי רבע אורך גל ועל נגדי איזון בין היציאות, השומרים על אחידות הפיצול, גם כאשר ההדקים אינם זהים. מפצלי/מחברי וילקינסון הם רכיבים נפוצים מאד בעולם הרדיו וזכו לאלפי גירסאות מדעיות ומסחריות (מספר שונה של הדקים, יחסי פיצול שונים, סוגים מגוונים של קווי תמסורת וכו'). וילקינסון נפטר בשיבה טובה בתאריך 10 מרץ 2012.
המצאותיו של וילקינסון
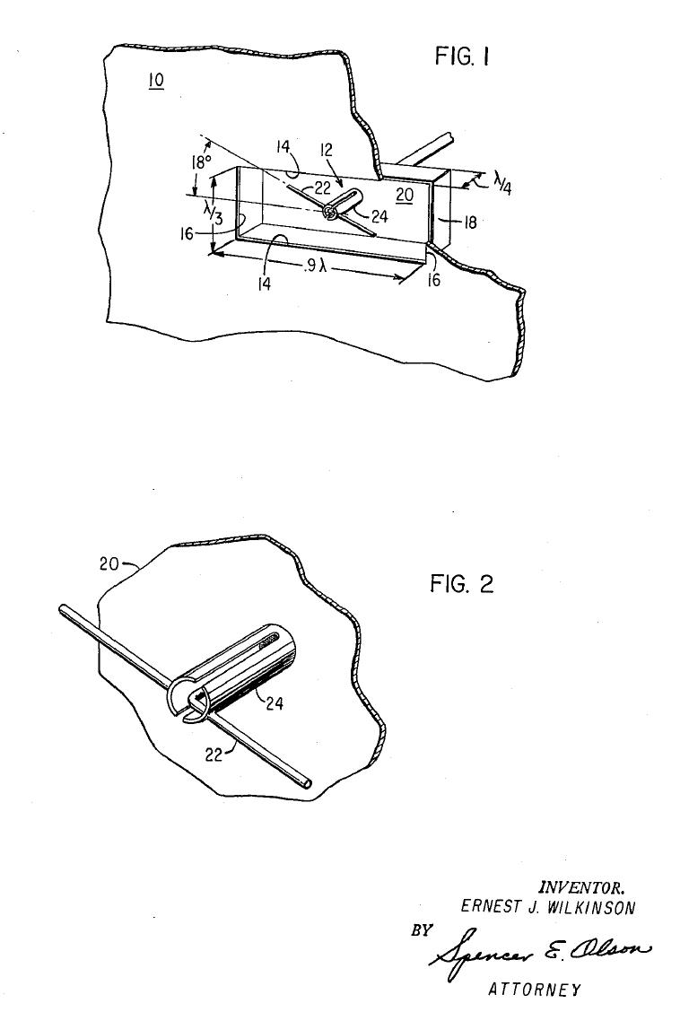
וילקינסון עסק ברכיבי רדיו ואנטנות. מבין פרסומיו נציין כאן את אנטנת החריץ הנתונה בתוך מהוד מלבני שממדיו , מוזנת על ידי דיפול מאוזן המוצב באלכסון ופועלת בקיטוב מעגלי (איור 2).
ראויה לציון גם אנטנת הרפלקטור המוזנת בו זמנית על ידי שני מקורות קרינה בקיטובים ניצבים (איורים 3-4) ומערכת עקיבה לאנטנות לוויניות[2], אך כאמור, וילקינסון התפרסם בעיקר בגלל המפצל המיוחד שהמציא ופרסם בשנת 1960 (איור 5).
מפצל/מסכם וילקינסון
במפצל (או מסכם) הספק איכות הפיצול והבידוד בין היציאות תלויים בכך שהדקי היציאה יהיו זהים. הרעיון המרכזי במפצל וילקינסון הבסיסי, כמודגם באיור 6 [8], הוא לחלק את ההספק בין שני ההדקים תוך שימוש בשנאי רבע אורך וכן להוסיף נגד ממשי בין הזרועות. בדרך כלל, אם היציאות זהות, אין זרם על הנגד, אך אם מסיבה כלשהי היציאות אינן זהות, נוצר מפל מתח על הנגד וזורם בו זרם. במפצל וילקינסון נשמרת רמת בידוד גבוהה בין הדקי היציאה וגם אם אחד ההדקים אינו מתואם כראוי, המפצל נשאר מאוזן למדי. לעיון נוסף ראו [6-9].
בדוגמה המובאת באיור 6 מוצג מימוש על ידי קוים מודפסים. כל ההדקים הם במשטר אימפדנס אופייני נומינלי (נניח 50 אוהם). שנאי רבע אורך הוא באימפדנס אופייני של 70 אוהם והנגד הוא בעל התנגדות 100 אוהם. במפצל כזה ניתן לצפות להפסד פיצול של 3dB ועוד להפסד מעבר בתחום 0.5-1dB. איור 7 מציג תמונה של מפצל וילקינסון מודפס בטכנולוגית מיקרוסטקיפ עם שתי דרגות, כלומר 4 יציאות. רואים היטב את נגדי האיזון בכל דרגה [8].
הבעיה העיקרית של מפצלי וילקינסון (לעומת מפצלים התנגדותיים למשל) היא בכך ששנאי רבע אורך גל הוא בעל רוחב סרט מוגבל ולכן גם המפצל בעל רוחב סרט מוגבל. ניתן להתגבר על כך על ידי מימוש השנאי בכמה דרגות. כאשר מעונינים לפצל את ההספק ביחס לא זהה בין היציאות ניתן לממש שנאי רבע אורך גל שונים זה מזה ולהשתמש בנגד מתאים. איור 8 [8] מדגים את הפתרון כדלקמן.
נניח שמעונינים לפצל את ההספק המגיע מהדק הכניסה שהאימפדנס הנומינלי שלו הוא Zo בין שתי היציאות ביחס . הדק 2 מחובר לנגד או לקו תמסורת עם אימפדנס ZoK והדק 3 מחובר לנגד או לקו תמסורת עם אימפדנס Zo/K. לכן יחס ההספקים בין ההדקים יהיה K². ניתן להראות כי האימפדנסים של השנאים והתנגדות הנגד יהיו:
ניתן להראות כי האימפדנסים של השנאים והתנגדות הנגד יהיו:
Zo3 = Zo sqrt [(1+K²)/K³]
Zo2 = Zo sqrt [K(1 + K²)]
R = Zo (K + 1/K)
עבור ערכים גדולים של K נדרשים אימפדנסים גבוהים ונמוכים עד כדי כך שהמימוש בקווי תמסורת מודפסים הופך למשימה קשה מדי. למשל עבור יחס פיצול 1:4 ומשטר השנאים הדרושים הם 160 , 40 והיציאות הן 100, 25, אך עבור יחס פיצול 1:6 השנאים הדרושים הם 207,24 בהתאמה והיציאות הן 123 20.5. במקרים כאלו רצוי לעבור לקווי תמסורת אחרים כמו קווים קואכסיאליים או מבנים אחרים.
מבנה נוסף המתואר באיור 9 מראה כיצד ניתן לפצל את האות ל-N יציאות, כאשר כל נגדי האיזון הם בעלי התנגדות Zo וכל השנאים הם באימפדנס . מבחינת המימוש המרחבי כדאי לבנות מפצלים מרובי יציאות במבנים ראדיאליים [10-11].
בתכנון מדויק ניתן לממש מפצלים עם מספר כלשהו של יציאות ועם יחסים כלשהם של הספקי היציאה. דוגמאות מסחריות מופיעות באיור 10.
סיכום
עברו יותר מ-50 שנה מאז פירסם ארנסט וילקינסון את המפצל המאוזן הקרוי על שמו, הכולל שנאי רבע אורך גל ונגדי איזון בין היציאות. המפצל הפך לאבן בנייה בסיסית נפוצה במערכות רדיו, אלחוט ומיקרוגלים ולשם דבר טכנולוגי בשטחים אלו.
- איור 1 ארנסט ג' וילקינסון 1927 – 2012
- איור 2. אנטנת חריץ בקיטוב מעגלי, מוזנת על ידי דיפול, מתוך פטנט
- איור 3. תיאור אנטנת רפקלקטור עם שתי הזנות בקיטובים ניצבים, מתוך פטנט
- איור 4. אנטנת רפקלקטור עם שתי הזנות בקיטובים ניצבים, מתוך פטנט
- איור 5. מפצל הספק ראדיאלי עם 8 יציאות, מתוך פטנט ומאמר
- איור 5. מפצל הספק ראדיאלי עם 8 יציאות, מתוך פטנט ומאמר
- איור 6. דיאגרמה של מפצל וילקינסון בסיסי עם שתי יציאות זהות
- איור 7. מפצל וילקינסון מודפס עם 4 יציאות שוות
- איור 8. דיאגרמה של מפצל וילקינסון עם יחס הספקים k²:1 בין היציאות
- איור 9. דיאגרמה של מפצל וילקינסון עם N יציאות זהות














