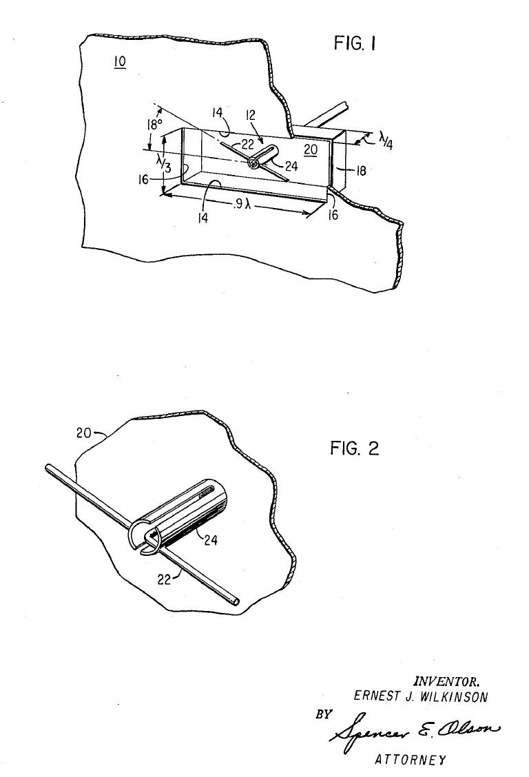
2 פורסם ע"י Shirley on מאי 5, 2015 768 × 1128המפצל והמאחד על פי ארנסט וילקינסון איור 2. אנטנת חריץ בקיטוב מעגלי, מוזנת על ידי דיפול, מתוך פטנט הבא → איור 2. אנטנת חריץ בקיטוב מעגלי, מוזנת על ידי דיפול, מתוך פטנט